Northern Telecom SG-1 "Pulse" EPABX
Overview
The Northen Telecom SG-1/SG-1A "Pulse" EPABX (Electronic Private Automatic Branch Exchange) is commonly regarded as the first successful fully electronic PBX. The system combined digital controls with an analog speech highway. Unlike most other analog systems at the time, the SG-1 did not have a hard wired speech path. Instead, it used time division multiplexing to multiplex all voice channels onto a single pair of wires, the "speech highway".
The SG-1 was the first all electronic switching system totally designed, developed and built in Canada. The project was put into motion at Bell Northern research in mid-1968 and first field trial was in Lucerne, Quebec in May of 1972.
Timeline
Mid-1968 - Project put into motion at Bell Northern Research.
May 1972 - Field trial in Lucerne, Quebec
Late 1972 - The 80 line SG-1 hits the market, selling for between $7000 for a minimal system all the way up to $20000 for a fully loaded system.
1974 - The SG-1 receives an upgrade to 120 lines, becoming the SG-1A -- the Pulse 120
1975 - 6000 SG-1s have been sold
1979 - The Pulse receives a new, smaller cabinet (54" as opposed to 67"), and a more compact power supply.
Photographs
Note: If you are going to use these photos, please at least make an effort to give me credit.
This photograph shows, from top to bottom: Power Shelf, Control Shelf, Option Shelf and Trunk Shelf #2. The frame to which the shelves are mounted is hinged so that the back sides of the shelves can be accessed to add/remove straps (jumpers) as needed.

This photograph shows, from top to bottom: Trunk Shelf #1, Line Shelf #1, Line Shelf #2 and Line Shelf #3.

PAM TDM
From US patent 3,444,326
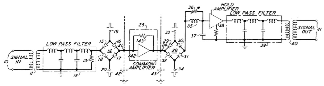
Northern Telecom's description of the technology inside the SG-1 is a mouthful: Pulse amplitude modulated time division multiplex with resonant energy transfer. The SG-1 speech highway is divided into 24 individual timeslots, with a per-timeslot sample rate of 12KHz.
My Systems
Read more about my SG-1 story here.
I have ended up with two SG-1As. This is my first, equipped for 40 lines:
This is a view of the trunk cards (brown), which control access to the central office from the local extensions. The design of the Pulse also put things like dial tone generators on this shelf. Below the brown cards are the yellow line cards. Each of the line cards serves two extensions. Some of the yellow cards are common equipment, leaving 20 actual line cards (40 lines) on each shelf. This system is equipped for 120 lines. I picked this unit up a little while after my first.

This is what the back of the shelves look like:

This is the operator's console. That big white thing coming out of it is a 150 pair (300 wire) cable that connects the console to the cabinet.

Explorations & Blatherations
- A list of SG-1 Circuit Packs.
- My SG-1 Circuit Packs
- My SG-1 story.
- No CPU? No problem! A not-so-deep-deep-dive into the design of the SG-1.
- SG-1 NTPs